

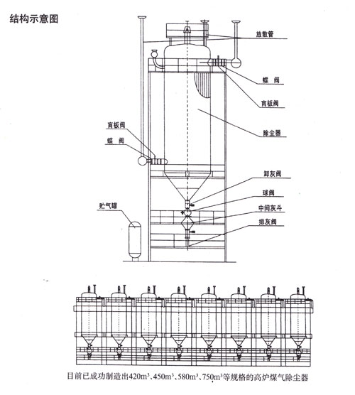
高爐煤氣干法脈沖袋式除塵器由荒煤氣主管來的荒煤氣(260度)經支管進入,袋式除塵器的下部箱休,進行機械分離之后,煤氣向上經布袋過濾,微細粉塵附著在濾袋外表面,凈煤氣通過濾袋匯集到上箱體,經凈煤氣支管,主管時入熱風爐等使用。
當過濾到一定時間后,隨著濾袋表面的粉塵增加,除塵器阻力上升,當阻力上升到一定數值時,電氣控制系統發出清灰信號,出口支管氣管從袋口噴入,濾袋急速擴線,濾袋外表面的粉塵被攔落下來,落入下部錐形灰斗, 后一個脈沖閥噴吹結束,高爐煤氣干法脈沖袋式除塵器繼續保持靜止狀態,使筒體內較細的粉塵有一個靜止沉降的過程,此過程結束,出口支管氣動蝶閥和上球閥開啟,除塵器進入正常過濾狀態,同時下部球閥開啟經葉輪給料機,完成了一個箱體的清灰過程,上述過程中各個閥門的開啟與關閉,單箱體相對粉塵濃度的測試,都由PLC系統控制,這樣周而復始的工作,荒煤氣得到凈化。
